Обработка кармана с листочкой
Для каждого вида обработка будет немного отличаться друг от друга, поэтому рассмотрим их по отдельности пошагово.
Вариация с настрочными краями
Для ее установки проводим подготовительные работы, как написано выше. Далее следуем изложенному ниже порядку действий.
- Заготовку планки укладывают открытым краем к линии прорезания кармана.
- Сверху помещают одну деталь внутренней части кармана.
- Прострачивают конструкцию, при этом начинают и заканчивают шов на уровне узких сторон листочки.
- Чуть выше линии разреза пристрачивают вторую внутреннюю часть.
- Разрезать карман.
- Внутреннюю часть заправить наизнанку.
- Соединить внутренние детали кармана.
- Выполнить отстрочку планки и кармана.

Вариация с втачными краями
Предварительный этап проводится тем же способом. Затем выполнить следующие действия.
- Листочку притачать к внутренней части кармана.
- Шов расправить и заутюжить.
- Пришить часть с листочкой и вторую внутреннюю часть по обеим сторонам разметки разреза.
- Выполнить разрезание ткани.
- Вывернуть детали кармана на изнаночную сторону.
- Расправить все элементы и сшить обе части, при этом закрепив концы листочки двойной строчкой.
- Отутюжить конструкцию.

Мк карман с листочкой для верхней одежды (ленивый вариант)
Ну наконец-то всё совпало, и я могу уже сделать МК по карману с листочкой, процесс которого отсняла ещё два месяца назад… Сразу оговорюсь, что я человек ленивый. Вернее немного не так: я всегда стараюсь максимально упростить любой процесс, чтобы делать как можно меньше телодвижений и сэкономить побольше времени и жизненной энергии.
Не всегда мои инновации сразу кажутся менее времязатратными, но, по крайней мере, в итоге получается проще и быстрее. Конкретно данный карман с листочкой отличается от классического варианта самой листочкой и тем, что при любом раскладе он получается с первого раза ровно и аккуратно.
Плюс вход в карман дополнительно укреплён и за счёт этого выдерживает все муки, которым дети обоих полов и взрослые мальчики-дядечки его подвергают (девочки-то со временем взрослеют и перестают носить в карманах гвозди и прочую хрень, да и просто лазить туда каждую секунду перестают, максимум перчатки-варежки в карман пихают – у нас вся жизнь в сумочку перемещается).
В общем, таки Карман с листочкой!
1.
Для начала надо определится, какого размера нужна листочка – будет она широкая, или всего 1см, чтобы молнию прикрыть… Я решила, что моя листочка будет шириной 2см и длиной 13. Теперь рисуем обтачку – в центре наша листочка 2 на 13 плюс припуски по всем срезам 2см. Таких обтачек нам нужно по одной на каждый карман (у меня было 4 кармана на бармалейских куртках, поэтому их 4). Можно дополнительно укрепить обтачку клеевой – на тонких плащевках, пальтовых тканях так и делаю. Мембрану дополнительно не укрепляю.

2.
Прикладываем нашу обтачку лицом к лицу к основной детали (к тому месту, где вы этот карман желаете видеть в готовом изделии) и строчим точно по линии разметки листочки (в моем случае строчка получилась в виде прямоугольника 2 на 13)

3.
Разрезаем, уголки рассекаем максимально близко к шву

4.
Выворачиваем обтачку на изнанку основной детали и хорошенько утюжим это дело (проверьте сначала на ненужном кусочке, какую температуру ваша ткань способна вынести, чтобы не спалить деталь кроя. Благодаря моему утюгу я могу себе позволить ооочень много, но мембрану и плащевки всё-таки ещё и через проутюжильник утюжу)

5.
Теперь готовим саму листочку – двойная ширина листочки плюс припуски по 2см. Листочку можно продублировать клеевой, сложить по длине пополам и приутюжить

6.
Листочку прикладываем к нашей рамочке – входу в карман так, чтобы край (там, где сгиб, а не открытые срезы) точно совпал с уголочками рамки. Закалываем булавками с трех сторон, чтобы не уехала (либо приклеиваем клеем-карандашом для текстиля – кому что доступно и ткань позволяет), отстрачиваем по периметру рамки на расстоянии примерно 0,2см.

7.
Теперь мешковина. К верхнему срезу кармана (там, где вход в карман) пришиваем мешковину из основной ткани – пришиваем четко на ширину кармана к обтачке, по возможности максимально близко к уже имеющимся швам.
8.
К нижней части кармана (там, где пришита листочка) пришиваем мешковину из подкладочной ткани, заутюживаем её вниз. Затем сшиваем вместе обе мешковины (форму мешковинам делаю на глаз) и срезаем лишнее – наш карман готов!
Совет:
Если нужен карман на молнии, то после п.4 вместо листочки прикалываем/приметываем/приклеиваем молнию и отстрачиваем по периметру, далее пп.7 и 8 – карман на молнии готов. Только не забывайте длину-ширину по молнии вымерить. Если молния должна быть скрыта за листочкой – то под листочку прикладываем молнию и отстрачиваем по периметру одним швом (на таком кармане обычно ширина листочки 1-1,5 см в зависимости от ширины молнии) Ну а вот карман в деле на бармалейских куртках (уже с переделанными рукавами) – такие карманы на принтованных вещах заметны только при движении, когда оттопыриваться начинают…
Как своими руками правильно пошить прорезной карман с листочкой
1.Берем готовое изделие и с изнанки размечаем место будущего кармана мелком или карандашом.
2.Выкраиваем 2 мешковины кармана длиной около 20см. Ширину мы выбираем сами, добавляя с каждой из сторон по 3-4см на обработку.
3.Используя наметочные стежки или булавки, переносим карманный контур на лицевую сторону. Ширина листочки, как правило, бывает 2см. Длину одной из мешковин нужно сделать на 4см больше другой (это и будет листочка).
4.Отгибаем край длинной мешковины и делаем листочку лицевой стороной вверх, делаем намет.
5.Затем выворачиваем наизнанку и шьем аккуратные строчки во всем сторонам рамки уже на швейной машинке. Рамку сгибаем посередине и делаем надрез, показанный на рисунке.

6.Выворачиваем мешковину наизнанку, выметываем и утюжим.
7.Следом мешковину нужно отогнуть вверх.
8.С нижней стороны рамки отступаем 2см, перегибаем мешковину и утюжим, складка закладывается наверх.

9.Скалываем по бокам мешковину булавками и сшиваем фиксирующими строчками обе стороны. Для этого мешковину нужно отвернуть и прошить основания намеченных треугольников.
10.Сверху накладываем вторую мешковину и скалываем их.
11.Сшиваем обе мешковины и используем для припусков оверлок.
Готовый карман с листочкой с втачными концами изображен на фото ниже.
Клапан
Подробнее о том, как работать с клапаном будущего изделия. Как его правильно разметить, и что делать с тканью, чтобы пришивалась очень ровно?

Намётка и утюжка деталей
Выбрали форму самого изделия и верхней его крышечки. Затем лучше использовать специальную бумагу, при желании можно взять обычные листочки. Само изделие не такое большое, и поэтому подойдут листки из тетради, очень удобно делать чертёж на листе в клетку.
Нарисовали форму и размеры, которые подходят по модели. Затем необходимо всё это перенести на ткань. Просто вырезать готовые чертежи, приложить и обвести маркером для шитья. Если такого не оказалось под рукой мастерицы часто используют небольшой кусочек мыла. Это и ткань не портит и линию хорошо видно, даже на светлой ткани. Но главное, избавиться от него далее будет намного проще и без пятен. Вырезали, и обязательно прогладили утюгом готовые детали. Только стараться не вытягивать углы ткани при помощи утюга, просто лёгкая глажка.

Выворачиваем на лицевую сторону
При соединении деталей можно совместить их лицевыми сторонами, но в этом случае далее необходимо будет вывернуть детали, и проутюжить места швов. Дополнительно нужно будет сделать припуски для швов примерно 0,5 см от каждого края. На этом расстоянии и прокладывать швы.

Утюжка и строчка налицо
Прошла очередная утюжка с лицевой стороны, и деталь получила свои чёткие очертания. Самое время украсить её дополнительной строчкой, но уже с лицевой стороны. Саму строчку желательно проложить на расстоянии всего 0,1 см от края.

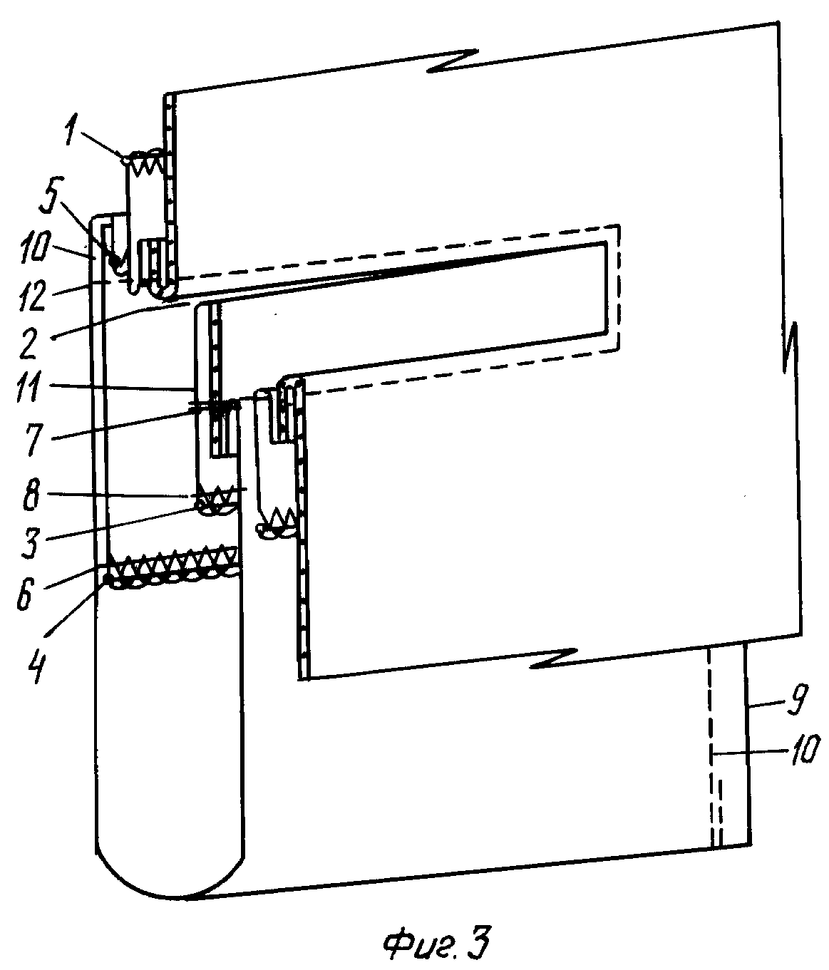
Обработка кармана с листочкой
Для каждого вида обработка будет немного отличаться друг от друга, поэтому рассмотрим их по отдельности пошагово.
Вариация с настрочными краями
Для ее установки проводим подготовительные работы, как написано выше. Далее следуем изложенному ниже порядку действий.
- Заготовку планки укладывают открытым краем к линии прорезания кармана.
- Сверху помещают одну деталь внутренней части кармана.
- Прострачивают конструкцию, при этом начинают и заканчивают шов на уровне узких сторон листочки.
- Чуть выше линии разреза пристрачивают вторую внутреннюю часть.
- Разрезать карман.
- Внутреннюю часть заправить наизнанку.
- Соединить внутренние детали кармана.
- Выполнить отстрочку планки и кармана.

Вариация с втачными краями
Предварительный этап проводится тем же способом. Затем выполнить следующие действия.
- Листочку притачать к внутренней части кармана.
- Шов расправить и заутюжить.
- Пришить часть с листочкой и вторую внутреннюю часть по обеим сторонам разметки разреза.
- Выполнить разрезание ткани.
- Вывернуть детали кармана на изнаночную сторону.
- Расправить все элементы и сшить обе части, при этом закрепив концы листочки двойной строчкой.
- Отутюжить конструкцию.

Обработка кармана с листочкой
Для любого вида обработка будет чуть-чуть различаться один от одного, по этому рассмотрим их отдельно поэтапно.
Вариация с настрочными краями
Под ее установку проводим работы по подготовке, как отмечено выше. Дальше следуем изложенному ниже порядку действий.
- Заготовку рейки кладут открытым краем к линии прорезания кармана.
- Сверху помещают одну деталь внутренней части кармана.
- Прострачивают конструкцию, при этом начинают и завершают шов на уровне нешироких сторон листья.
- Немного больше линии разреза пристрачивают вторую внутреннюю часть.
- Разрезать карман.
- Внутреннюю часть заправить наизнанку.
- Объединить внутренние детали кармана.
- Выполнить отстрочку рейки и кармана.

Вариация с втачными краями
Подготовительный этап проходит тем же способом. После выполнить следующие действия.
- Листочку притачать к внутренней части кармана.
- Шов расправить и заутюжить.
- Пришить часть с листочкой и вторую внутреннюю часть по обоим сторонам маркировки разреза.
- Выполнить разрезка ткани.
- Вывернуть детали кармана на изнанку.
- Расправить все детали и пошить две части, при этом закрепив концы листья двойной строчкой.
- Отутюжить конструкцию.

Классификация карманов
Карманы являются неотъемлемой частью любого пальто.
Расположение определяется как фасоном пальто, так и особенностями фигуры.
Можно выделить два типа карманов: внешние и внутренние. Разница в том, с какой стороны, лицевой или изнаночной, они расположены.
Оба этих типа представлены одинаковыми разновидностями:
- Втачные. Чаще присутствуют на моделях спортивного стиля. Отлично выглядят на ткани с рисунком.
- Накладные. Настрачиваются на ткань. Могут быть одинарными или двойными, зависимости от толщины материала. При необходимости укрепляются прокладкой.
- Прорезные. На внешней стороне виден лишь особым образом обработанный вход в карман (вырез).
- Не прорезные. Карманы внутри шва. Чаще всего используются у моделей с фасонными линиями и швами. Направление которых, кстати, не влияет на технологию изготовления.
Как выполнить карман с листочкой на молнии
Во многих изделиях листочка находится по соседству с застежкой-молнией. Все знают, как выполнить такие элементы отдельно. Однако их сочетание может завести их в тупик. Для того чтобы не появилось подобной неприятности, рекомендуем разобраться в таком способе детально.

Для работы вам потребуется: листочка, добавочная ткань для внутренней части и молния необходимой длины.
Процесс выполнения
- Нарисовать с лицевой стороны изделия рамку для работы.
- Выполнить компонент рейки так, как мы уже описали выше.
- Продублировать участок кармана добавочным материалом.
- Расположить в необходимом месте деталь рейки.
- Бережно притачать рейку к изделию.
- Ко обратной стороне притачать подходящий край молнии.
- Выполнить соединительный шов.
- Разрезать рамку.
- Вывернуть детали наизнанку и закрепить в необходимом положении с помощью английских булавок.
- Стачать молнию и листочку.
- Выполнить декоративную отстрочку кармана.
- Притачать к оставленным припускам внутренние детали кармана.
- Конструкция готова к применению.
С чем носить красные кроссовки мужские рекомендации
Для малоопытных мастериц, очень часто столкновение с подобными мелочами может стать роковым. После испытанной неудачи немногие решатся повторить попытку. Но применяя чужой навык, получиться избежать подобных неприятностей. А повторяя одну и ту же операцию пару раз, вы оттачиваете собственное мастерство, с каждым разом становясь все ближе к идеалу. По этому при неудачах не стоит опускать руки. Даже маститые профессионалы порой совершают ошибки. Просто воспринимайте это как данность, и удача улыбнется вам. Приятной творческой работы!
Прорезной карман с втачной листочкой
Прорезной карман в втачной листочкой используется в одежде классического стиля, особенно в жакетах и пальто, но в отличие от накладной листочки, требует некоторого опыта в шитье. Но «дорогу осилит идущий» и, надеюсь, что этот материал сподвигнет тех, кто еще боится прорезных карманов, хотя бы попробовать)))))
Разберем на примереверхнего кармана для платочка в классическом ЖАКЕТЕ, который я недавно сшила для дочери. Как я уже отмечала в предыдущем , прорезные карманы обрабатываются после обработки вытачек и рельефов, но до соединения боковых швов, поэтому, на момент обработки кармана полочка должна выглядеть как на фото1.

Для обработки этого кармана необходимо (фото2): — выкроить и обработать листочку, для втачной листочки я выкраиваю прямоугольник шириной, равной удвоенной ширине листочки в готовом виде и длиной входа в карман с припусками на швы. Деталь дублирую флизелином и приутюживаю, перегнув её вдоль пополам;— выкроить две мешковины: в толстых пальтовых и костюмных тканях — из подкладочной ткани, в более тонких тканях, как в моем случае, одна из мешковин может быть выкроена из основной ткани и потому заменяет подзор; — в остальных случаях выкроить подзор — эта деталь выглядывает в готовом кармане, поэтому её делают из основной ткани в виде прямоугольника шириной, равной ширине и длине листочки в готовом виде с припусками на швы 1−1,5 см по всем сторонам, если листочка наклонная, как в моем случае, то припуски по длине делают до 3 см; — выкроить из дублирующего материала (флизелин, дублирин) долевик шириной, равной удвоенной ширине готовой листочки, длина должна быть такой, чтобы каждый конец долевика выходил за готовую листочку на 4−5 см. Долевик (от слова долевая нить) предохраняет вход в карман от растяжения в процессе эксплуатации, а также стабилизирует ткань, что облегчает процесс обработки. Итак, приступим: 1.Наметить место расположения кармана четырьмя меловыми линиями: двумя длинными, равными длине готовой листочки, и двумя короткими, ограничивающими вход в карман. Для разметки использую исключительно обычные обмылки, на некоторых фото это видно.

2.Наметить на листочке линию притачивания, листочку приколоть, направляя её вниз, а затем притачать к полочке точно по размеченной линии.

3. Мешковину-подзор из основной ткани приколоть лицевой стороной к лицевой стороне полочки, направляя её вверх, а затем притачать точно по размеченной линии, с изнаночной стороны строчки должны быть равны и параллельны. Расстояние между строчками должно быть равно ширине листочки в готовом виде. Обязательно измерьте его ДО разрезания входа в карман!!!

4. Разрезаем вход в карман со стороны долевика точно посередине между строчками, к концам строчек на уголок, не доходя до конца строчек около 1 мм. При этом разрезаем только ткань полочки, не захватывая мешковины и листочки.
мешковину из подклада

6. Выворачиваем детали мешковины через прорезь на изнаночную сторону, оставив листочку с лица полочки, уголки выправляем.
Всем удачных пошивчиков и уверенности в себе!!!
https://youtube.com/watch?v=iZmZ3M6toWg
Второй способ
Наберите на две петельке меньше, чем нужно для вашего кармана, и провяжите 1 ряд изнаночными петлями. Теперь необходимо сделать прибавление по 1 петле с обеих сторон. Проделайте так три раза. Когда провяжите необходимую высоту для планки, то закройте с обеих сторон по две петли и вяжите 3 см резинкой. Закройте петли и отверните полученную кромку по бокам и нижнему краю, закрепите на изнаночной стороне детали.
Выберите нужное местечко на вашей одежде и приметайте стежками карман к основе.
Принцип присоединения кармашка:
- начните вязку кармана вспомогательной пряжей (провяжите так 2-4 ряда), когда вы окончите свой кармашек, то вспомогательную пряжу можно распустить, а открытые петли заделать с помощью шва. Визуально определитесь с местом для кармана и пришейте его стежками, четко соблюдая контур;
- когда ваши кармашки готовы, сделайте красивую (можно узорчатую) обвязку, пришейте на молнию и уже декорированный кармашек присоедините к одежде;
- заканчивайте карман резинкой, с помощью это незамысловатого трюка карманы не будут оттопыриваться.
Статья по теме: Штанга из конфет своими руками пошагово: мастер-класс с видео
Как сделать карман с листочкой
При пошиве кармана с листочкой следует выполнить несколько этапов.
Изготовление листочки
Первым делом изготавливается сама деталь.
- Для этого из ткани вырезается прямоугольная заготовка. Обычно ее размеры равняются 20Х10 см.
- Перегибаем пополам деталь изнаночной стороной кверху.

Выворачиваем на лицо и хорошенько утюжим.
Внутренняя часть
Далее готовим внутреннюю часть кармана. Для этого из дополнительного материала выполняем две заготовки. Для выкройки прикладываем к листу бумаги руку и обводим границу ладони.

Разметка
Затем размечаем место расположения кармана.
- На лицевой стороне портняжным мелом отмечаем, где будет находиться данная деталь.
- Измеряем длину готовой планки.
- Чертим отрезок по размеру планки.
Затем приступам к процессу монтажа конструкции. Рассмотрим подробно, как это происходит.
Пошаговая технология обработки прорезного кармана с двумя обтачками и клапаном

Технология обработки прорезного кармана с двумя обтачками и клапаном
Из основной ткани выкроите детали клапанов и обтачек. Укрепите с изнаночной стороны клеевой прокладкой внешние детали клапанов карманов и все четыре детали косых обтачек (рис. 1).
ВАЖНО! На некоторых моделях пиджаков нижние детали клапанов кроят из подкладочной ткани. В данном примере все детали клапанов выкроены из основной ткани

Рис. 1. Детали клапана и обтачек
Сложите лицевыми сторонами укрепленные и неукрепленные детали клапана, сколите по нижнему и боковым сторонам и стачайте (рис. 2).

Рис. 2. Стачать детали клапана
Срежьте припуски близко к строчке, в местах скруглений высеките на уголок (рис. 3).

Рис. 3. Срезать припуски на клапане кармана
Выверните и чисто выметайте клапаны (рис. 4). В мастер-классе использованы красные нитки для наглядности, но лучше выметывать детали из светлых материалов белыми нитками (они не оставляют следов).

Рис. 4. Чисто выметать клапаны карманов
Наметочную нить на клапанах удалите. По контуру каждого клапана проложите отделочную бисерную строчку (по боковым и нижней сторонам) (рис. 5). Если вы не знакомы с таким видом ручного шва, посмотрите видео-мастер-класс, который размещен в конце этой статьи.

Рис. 5. Вспушная (бисерная) строчка на клапанах кармана
Детали обтачек перегните пополам, проутюжьте и слегка оттяните. Ширина обтачек в готовом виде равна 1,5 см (рис. 6).

Рис. 6. Детали обтачек
На полочке изделия разметьте вход в карман при помощи разметочных стеков или исчезающего маркера. Наложите обтачки на полочку срезами к линии разметки входа в карман и приколите или приметайте (рис. 7).

Рис. 7. Раскладка обтачек на полочке
Притачайте обтачки точно по центру, проложив строчки на ширину входа в карман (рис. 8). Ширина рамки кармана в готовом виде — около 1,5 см.

Рис. 8. Притачивание обтачек
С изнаночной стороны разрежьте вход в карман, не доходя 1 см до концов строчек — на уголок (рис. 9).

Рис. 9. Разрез по рамке
Отогните припуски обтачек на изнаночную сторону, сформируйте рамку и и проутюжьте (рис. 10).

Рис. 10. Проутюжить рамку
Чтобы стабилизировать и зафиксировать рамку, аккуратно отогните деталь полочки и по основаниям треугольников с обеих сторон рамки проложите фиксирующие строчки (рис. 11).

Рис. 11. Притачать основания уголков рамки
На клапане разметьте верхний припуск. Вложите клапан между обтачками, совместив по разметке, и зафиксируйте булавками (рис. 12).

Рис. 12. Вставить клапан в рамку кармана

Рис. 13. Мешковина из основной ткани
Отогните полочку вниз. Выкроите 4 мешковины кармана: 2 из основной ткани и 2 из подкладочной ткани. Ширина обеих мешковин должна быть равна ширине обтачек рамки, длина — 16-17 см. Совместите мешковину из основной ткани с верхним припуском клапана и обтачки и приметайте (рис. 13).
Переверните полочку на другую сторону, по верхнему припуску рамки приколите клапан булавками (к припуску верхней обтачки кармана) (рис. 14).

Рис. 14. Приколоть мешковину к верхней обтачке
Притачайте клапан и мешковину к припуску обтачки, строчку проложите точно в шов притачивания верхней обтачки (рис. 15).

Рис. 15. Притачать мешковину из основной ткани
Отогните притачанную мешковину из основной ткани вверх. Мешковину из подкладочной ткани совместите с нижним припуском обтачки. При этом обе мешковины должны быть направлены вверх от входа в карман (рис. 16).

Рис. 16. мешковина из подкладочной ткани
Приколите мешковину к припуску нижней обтачки (рис. 17) и притачайте мешковину. Строчку проложите точно в шов аналогично мешковине из основной ткани.

Рис. 17. Приколите мешковину к нижнему припуску рамки
Отогните обе мешковины вниз, совместите по припускам, подровняйте по всем сторонам (рис. 18).

Рис. 18. Подровнять припуски мешковин
Сметайте мешковины и стачайте по припускам боковых и нижней сторонам от основания треугольников (рис. 19).

Рис. 19. Стачать мешковины кармана
Обметывать мешковины не нужно, поскольку жакет полностью закрывается изнутри подкладкой. На рис. 20 показана мешковина кармана в готовом виде с изнаночной стороны изделия.

Рис. 20. Вид кармана с изнаночной стороны изделия
Клапан кармана в готовом виде показан в изделии на титульном фото и со стороны входа в карман — на рис. 21.

Рис. 21. Клапан кармана в готовом виде с нижней стороны
Еще больше профессиональных мастер-классов, выкроек и идей для творчества вы найдете на сайте Школы шитья Анастасии Корфиати
Чтобы не пропустить ничего важного и полезного, подписывайтесь на наши бесплатные уроки и шейте модную одежду вместе с нами!
Мастер-класс по созданию кармана для женской юбки
На примере создания кармана для женской юбки рассмотрим, как сшить карман прорезной в рамку:
- В первую очередь копируется прямоугольник будущего размещения прорезного кармана на изнаночную сторону ткани. После этого рисуется горизонтальная линия в середине проема и добавляются линии клипов.
- Вырезается карман нужных размеров. Для женщин можно использовать следующие размеры: ширина – 11 см, высота – 18,5 см. Девочкам подойдут: ширина – 14 см, высота – 28,5.
- Копируется верхняя линия проема. Для этого продеваются две булавки в верхнюю линию прямоугольника, потом поворачивается ткань и соединяются обе стороны для того, чтобы скопировать эту линию. Рисуется параллельная линия на 3,5 см выше первой.
- Для определения середины прорезного кармана можно опять использовать тот же прием. Вставляется булавка в изнаночную сторону ткани. Разворачивается и копируется эта же линия на лицевую сторону ткани.
- К правой стороне ткани крепится карман.
- Пришиваются две горизонтальные линии к нарисованному прямоугольнику. Обе линии должны быть одинаковой длины. Начало и окончание шитья производится в одном и том же горизонтальном положении.
- С помощью этих линий делается прямоугольное отверстие. При выполнении этой операции нужно быть предельно точным, так как от этого зависит внешний вид будущего кармана.
- Вырезаются линии, нарисованные ранее, так, чтобы получился прямоугольный проем.
- Через отверстие вытягивается карман по направлению к спине.
- Необходимо нажать. В результате должен получиться прямоугольник правильной формы.
- Далее отрезается 2 мм верхнего и нижнего края новых краев, которые не были обработаны. Это позволит компенсировать толщину ткани при создании кармана.
- Верхняя часть скроенной ткани и карман складываются вниз. Потом снова загибается вверх. Край ткани должен располагаться посередине на расстоянии 7,5 мм от края.
- Необходимо повторить такой же порядок действий и для нижней части.
- Прострачивается вокруг кармана на расстоянии 2 мм от прямоугольного отверстия.
- Нужно перевернуть ткань и сложить клапан вдвое, чтоб получился карман. Боковые и верхние края закрываются при помощи прострочки на ширине прижимной лапки.
- Карман готов.
Виды прорезных карманов.
Доброго времени суток, уважаемые читатели блога!
Итак, прорезные карманы! Подошло время поговорить и о них.
Прорезные карманы можно встретить на всевозможных видах одежды. На юбках и на брюках, на платьях и на костюмах, на выполненных: из тонкого материала блузе и куртке из грубой, толстой ткани. В общем, куда ни кинь взглядом, обязательно встретишь прорезной карман.
Прорезные карманы не очень разнообразны формами. Овальное, прямоугольное (прорезные карманы «в рамку», прорезные карманы «в щель» и с листочкой), ромбовидное (прорезные карманы с листочкой) вот и всё виды «телосложения», которые могут «позволить себе» прорезные карманы.
Направление входа в прорезной карман для одних видов прорезных карманов (прорезные «в рамку», «в кант», «в щель, с листочкой) может быть любым: вертикальным, горизонтальным и под наклоном к вертикальным или горизонтальным линиям. Для других, например, прорезные карманы с клапаном, размещение их на изделии в вертикальном положении будет неуместным. Словом, всё зависит от вида выполняемого прорезного кармана.
Прорезной карман с клапаном – это классическая обработка карманов многих изделий, от заднего или бокового кармана брюк до карманов пиджака, пальто. Технология изготовления прорезных карманов с клапаном, с листочкой, в рамку и даже на молнии примерно одинаковая. Некоторые отличия обработки таких карманов имеются, но освоить их легко, если научиться правильно, делать прорезной карман в рамку или карман с клапаном с одной обтачкой.
Видео, как разметить и сделать накладной карман с клапаном.
Обработка любого вида прорезного кармана, особенно с клапаном довольно сложная, требуется определенный опыт и квалификация. Поэтому, если вы собираетесь сделать карман в рамку с клапаном впервые, поучитесь вначале на кусочке ткани.
Разметка деталей клапана из ткани и подкладки.
Направление долевой нити обтачки с мешковиной и самой мешковины. Учитывайте это направление. Чтобы срезы ткани не растягивались во время пошива.
Сделайте мелком разметку кармана с лицевой стороны основной детали линиями, определяющими его длину и ширину.
Клапан нужно сложить с подклапанной подкладкой лицевыми сторонами, сметать контрастными нитками со стороны клапана, делая посадку в углах на 0,2-0,3см. А вот обтачать нужно обязательно со стороны подклапана (подкладжки), швом шириной 0,5-0,7см (строчка 1). Швы в углах подрезать, оставляя припуск 0,3 см. Клапан вывернуть, приутюжить, выправляя кант из клапана в сторону подклапана. Наметить линию притачивания клапана к основной детали на расстоянии 0,7-1,0 см от среза.
Клапан наложить на основную деталь лицевой стороной вниз так, чтобы линия разметки на клапане совпала с верхней линией разметки на основной детали. Приметать и притачать.
Мешковину наложить на подклапан, совмещая срезы, одинаково выпуская за границы длины кармана. Наметать по линии притачивания клапана и притачать по строчке притачивания клапана. Концы строчек закончить у поперечных линий разметки входного отверстия кармана.
Срез нижней обтачки подогнуть наизнанку на ширину рамки плюс 0,7см и заутюжить.
Обтачку приложить сгибом к намеченной нижней линии и притачать между поперечными линиями разметки кармана. Расстояние между строчками равно ширине рамки.
Прорезать вход в карман со стороны изнанки от середины в обе стороны, не доходя до строчки на 0,1-0,2см.
Клапан отвернуть вниз, а мешковину с обтачкой вывернуть наизнанку. Концы кармана закрепить так же, как и при обработке кармана в рамку. Мешковину стачать с трех сторон. Срезы мешковины обметать, карман проутюжить с изнанки.
Пошив кармана
Подготовка деталей
Выкраиваю детали. Листочку дублирую и заутюживаю по сгибу, подзор обметываю по одной длинной стороне.

Листочку дублирую клеевым материалом

На изнаночной стороне брючины место прорези кармана также проклеиваю.

Пришиваю листочку
На лицевой стороне размечаю место листочки

Провожу снизу линию прикладывания листочки для удобства. На листочке также отмечаю линии припусков.

Накладываю листочку сгибом вниз совмещая перекрестия линий.

Прокладываю строчку от одного перекрестия до другого.

Пришиваю подзор
К верхней линии на брюках накладываю подзор. На изнаночной стороне подзора я разметила линии для удобства совмещения. Припуски подзора я подколола, чтобы было лучше видно.

Накладываю подзор лицевой стороной к брюкам, совмещая перекрестия линий. Прокладываю строчку от одного перекрестия до другого.

Вот так получается

Делаю разрез входа в карман
С изнаночной стороны брючины делаю разрез посередине строчек притачивания. К краям разрез треугольником подходит к самым концам строчек.

Уголки ровно отутюживаю.

Выворачиваю листочку и подзор

Сначала выворачиваю подзор, приутюживаю.

С изнаночной стороны

Затем выворачиваю листочку, приутюживаю. Смотрю, чтобы листочка хорошо легла в боковые разрезы.

Вид с лицевой стороны.

Пришиваю нижнюю мешковину кармана
Отворачиваю подзор

и отгибаю припуск листочки. Подкалываю мешковину к припуску листочки как показано на фото ниже.

Прокладываю строчку на 1 мм от строчки притачивания листочки.

Отутюживаю мешковину.

Накрываю подзором.

Как сделать карман-обманку с листочкой
Иногда при конструировании модели одежды дизайнеры прибегают к очень интересному варианту декора. Это карман-обманка, который не имеет внутренней части и применяется только как украшение.

Процесс выполнения
- Выполнить разметку будущего места расположения. Для этого проведите горизонтальную линию и по ней постройте рамку нужного размера.
- Затем требуется укрепить материал. С изнаночной стороны приутюживаем отрез дублерин или флизелин, который будет выступать за контуры рамки на 1–1,5 см.
- Выполнить элемент листочки.
- Выполнить деталь подзора. Для его изготовления возьмите отрезок ткани, длина которого равняется длине планки, а ширина равняется четырем ширинам рамки.
- Укрепить деталь планки и подзора дублирующим материалом при помощи утюга.
- Обработать края подзора.
- Рисуем по центру рамки линию и укладываем на нее лицевой стороной вниз листочку.
- Приметать планку к основной детали.
- Выполнить соединительный шов.
- Укладываем подзор таким образом, чтобы выше линии пришивания находилось две третьих материала.
- Выполнить разрез.
- Отвернуть наизнанку подзор.
- Прометать линию шва.
- Выполнить наметку подворота планки.
- Отвернуть планку по линии наметки на изнаночную сторону.
- Заутюжить место сгиба.
- Выполнить предварительную наметку контура.
- Выполнить отделочную строчку.
Карман с втачанными концами
Шить прорезной карман с листочкой с втачными концами несложно. Для этого необходимо четко понимать последовательность действий, которые необходимо совершать в строго указанном порядке. Прорезной карман с листочкой шьется в определенной последовательности.
Карманы с листочками наиболее распространены в костюмах, брюках и верхней одежде. В связи с этим особенностью является то, что работать приходится с плотной тканью, сложенной в несколько раз.
Карманы различаются по направлению прорези: бывают наклонные, горизонтальные или вертикальные. По форме самой листочки карманы делятся на фигурные и прямоугольные.
Конструкции листочек также разнообразны — цельновыкроенные или с подкладкой. Расположение карманов может быть любым: боковые карманы или верхние.
Пошив (обработка) кармана с листочкой состоит из нескольких этапов:
- 1 этап: обработка листочки;
- 2 этап: обработка кармана;
- 3 этап: сборка кармана.
Изделие с клапаном
Карман с клапаном можно обыграть двумя способами. Клапан может вязаться как продолжение кармашка, а может и отдельно. Главное условие в том, что ширина задуманного клапана должна обязательно равняться ширине нашего кармана. Если вы решили его пришить, то надо это делать к верхней кромке. Также вы можете прицепить клапан непосредственно в самой вязке. Сделайте клапан, петельки последнего ряда оставьте открытыми, потом провяжите по 2 петли вместе. Свяжите полочку до кармана, а петельки для накладного кармана с клапаном закройте в изнаночным, а в лицевом вместо обычных провяжите петли заранее связанных мешковины и клапана.
Не забывайте, что разнообразие не только в новом дизайне, но и цвете. Обязательно проявите свою фантазию и поэкспериментируйте с оттенками, ведь они могут послужить отличным акцентом в вашем завершенном образе.





















![§ 8. обработка карманов [1973 антонов и.а., березина м.н. - технология изготовления мужских и детских пальто]](https://1001zaponka.ru/wp-content/uploads/7/b/d/7bdf8a5e2b0ce4733b3c26dd76c59e13.jpeg)















